Замок ABLOY® 4292
Нужна консультация?
Наши специалисты ответят на любой интересующий вопрос
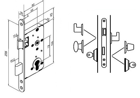
Замок для противопожарных, межкомнатных и наружных дверей под евроцилиндр стандарта DIN, отпирающийся при помощи ключа, поворотной кнопки евроцилиндра или нажимной ручки.
Сторонность замка может быть легко изменена путем переворота ригеля ручки на 180о. Для этого необходимо отжать фиксатор косого ригеля и вдавить ригель вниз в тело замка, после чего перевернуть ригель на 180о.
Имеет косой и прямой ригель, косой ригель управляется нажимными ручками, прямой ригель евроцилиндром.
Когда дверь заперта на ключ, ручка нажимается без усилия, что исключает поломку механизма замка.
Ответная часть в комплект поставки не входит. При заказе ответной части необходимо указать: дверь с фальцем (4669) или без (0029).
Данный замок работает только с ручками и щитками DIN стандарта.
